
All books on audio design that stoop to cover the archaic and backwards idea of vacuum tube amplification begrudgingly admit tubes are wonderful open-loop voltage amplification devices. They’re very linear (much more so than transistors without feedback), tolerant of high voltage, and forgiving of approximated parts values. Tubes do not make great current gain devices though. Therein lies the problem for us glow bulb fanatics. To make power, we need both voltage and current. We usually side-step the current-handling weakness of tubes by developing large voltage signals with multiple stages and then using an output transformer to turn the big voltage at modest current into modest voltage at big current.
Let’s look at an example.
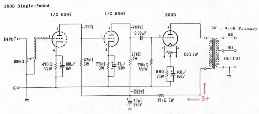
A somewhat classic single-ended triode uses two halves of a 6SN7 and a 300B in cascaded stages followed by a 3.5k to 8 ohm output transformer:

We know that the voltage gain of a grounded cathode with a bypassed cathode resistor is the Mu multiplied by the plate load divided by the sum of the plate load and the plate resistance. Accordingly, the amp above develops voltage gain of about 18x in the first stage, 16x in the second stage, and 3.2x in the final stage. This is an overall voltage gain of about 900x, meaning a 1V signal at the input becomes a 900V signal at the output. In reality, the 300B runs into grid or current cutoff before it gets anywhere near that much voltage swing at its plate and a more likely figure is about half this or 450V peak to peak.
This 450V peak to peak is still quite a lot of voltage. If you could directly drive an 8 ohm load with it [narrator: you can’t] you’d produce thousands of watts. To produce the thousands of watts, you’d use dozens of amps. You have about 0.06 amps [sad trombone]. We use an output transformer to step down the voltage and step up the current. We know that the voltage ratio of an output transformer is the square root of the impedance ratio. In the case of a 3.5k to 8 ohm transformer, that is the square root of 3,500/8 or about 21. Divide 450V by 21 and we get the voltage swing that the 8 ohm speaker is seeing. It’s about 22V peak to peak (seven and a half watts).
We created a hell of a lot of voltage just to step it down to a measly 22V peak to peak. This is where hybrids might come in. Solid state is quite happy driving amps of current into an 8 ohm load and only need a supply voltage of a couple dozen volts. They do away with the multiple voltage gain stages and output transformer. If you can create 22V of signal with a single tube stage, a transistor doesn’t need to make it any bigger; it just needs to provide enough current to drive a low impedance load like a speaker or headphone. Let the tube do what it does best (voltage gain) and let the transistor do what it does best (source lots of current).
So why don’t we see more hybrid designs? For one thing, the power supplies get complicated. You often want a bipolar (plus and minus) supply for the solid state section, a low voltage heater supply, and a high voltage supply for the tube’s plate. Although you rid yourself of an output transformer, you probably added a power transformer (and rectification, filter, etc). Another reason we don’t see more hybrid designs is that many designs which do exist don’t use the devices to their strengths and so cast doubt on the concept. When you see a single tube in an integrated amp, it’s often there as a simple cathode follower. I’ve got nothing against cathode followers, but that implementation is about as much a hybrid design as a burger with lettuce and tomato is a salad.
But by far the most likely reason we don’t see more hybrids (in my opinion) is that devotees of the objective/subjective, transistor/tube, modern/traditional design school are too human. If modern politics hasn’t sufficiently convinced you, the state of the audio market should. We’re kind of a bunch of tribal-minded, technocentric, get-off-my-lawn jerks. If you build a hybrid, you piss off both sides.
So yeah. Screw that. This was the long way of saying I’m building a hybrid amp.

